了解顆粒機環模模孔結構,顆粒生產不用愁
【環模 新聞資訊】顆粒機環模的結構特性參數,通常由模孔直徑、環模厚度、有效工作長度、減壓孔深度、進料孔口直徑、進料孔口角度、環模開孔率和長徑比來表示。其參數對顆粒成型品質有著一定的影響。

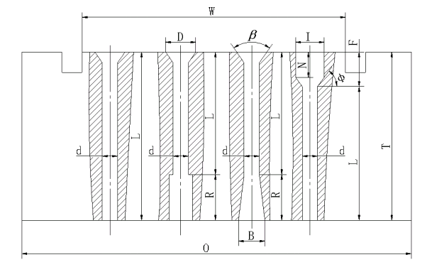
顆粒機環模模孔結構
在環模上開有相互間隔的多排成型通孔,通孔主要由進料孔(導料孔)、成型直孔、出料孔三部分構成。模孔形式是依據不同的原料特點進行設計選擇。
1、進料孔
進料孔口直徑應大于模孔直徑,這樣可減少物料的入孔阻力,以利于它們進入模孔。進料孔有3種基本形式,即直孔、錐孔和曲線形孔。目前最常見的進料孔是錐孔形式,呈漏斗形結構,也叫喇叭口,使物料更容易進入成型直孔,防止物料堆積在環模內壁造成悶車現象。

2、成型直孔
成型直孔的有效長度與其孔徑的比值稱為長徑比(壓縮比),這個壓縮比是與壓制成型的顆粒密度、強度密切相關的參數,是反映顆粒擠壓強度的一個指標。壓縮比越大,擠出的顆粒越結實。對于直形孔的環模壓縮比來說,環模孔的有效長度即為環模的總厚度,最小直徑即為模孔本身的直徑。

3、出料孔
出料孔的形式有可設計成減壓孔(釋放孔)、外錐形孔或內錐形孔。減壓孔朝外呈喇叭狀,目的是使已經擠壓成型的顆粒更容易脫模出料。成型直孔是制粒的重要結構,當直孔孔徑不變而延長其長度時,壓縮比變大,原料被擠壓進直孔后保壓時間也將變長,壓制出的顆粒密度大,外觀光滑且不易破裂變形,但由于顆粒保壓時間長,會引起顆粒機生產效率下降,增加生產成本。因此成型通孔的直徑和長度應根據物料狀況與成型顆粒大小粒度的要求而定。

另外,環模模孔粗糙度也是衡量環模質量的重要指標。在同樣的壓縮比下,粗糙度值越大,顆粒擠出阻力就越大,出料越困難,過大的粗糙度也影響著顆粒表面的質量。一般合適的粗糙度值應在0.8-1.6之間。